IT
Wireless communication apparatus and antenna device
Overview
Organization Name
kazuhiko HONJO Advanced Wireless and Communication Research Center (AWCC) The University of Electro-Communications
Details
Benefit
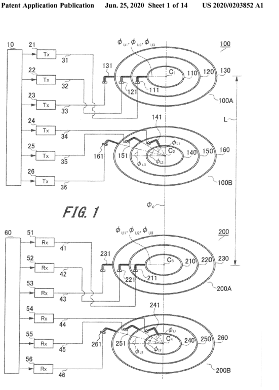
Provides a way to double the multiplicity of conventional loop antenna OAMs
Market Application
Publications
- https://drive.google.com/open?id=1WtJYvqV5j8Uk3gET-kNdC9jgEsEx4Et1
